“全国免费师范生录取分数线一览表”一直都是考生报考公费师范生的重要参考资料,为了给大家提供帮助,本文为大家整理了四川、山东、河北、湖南等多省份公费师范生录取分数线2021汇总,2022届考生可参考。

2021年全国免费师范生录取分数线
注:以下数据均来自各省教育考试院公布的2021年本科提前批调档线统计表或学习官网数据,可放心参考。公费师范生除了部属公费师范生以外,还有各省省属公费师范生,由于在各省省属公费师范生招生院校不一样,因此本文仅为大家整理6所部属公费师范大学在各省录取分数线2021。
1、四川省公费师范生录取分数线2021
(1)理科
北京师范大学656分、东北师范大学607分、华东师范大学653分、华中师范大学625分、西南大学611分、陕西师范大学607分
(2)文科
东北师范大学588分、华东师范大学622分、华中师范大学600分、陕西师范大学591分、西南大学590分
2、安徽省公费师范生录取分数线2021

3、河南公费师范生录取分数线2021
陕西师范大学:文科610分、理科600分
华中师范大学:


华东师范大学

4、山东省
陕西师范大学:596分
华中师范大学

华东师范大学

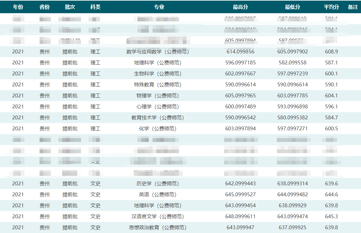
5、贵州省
北京师范大学:文科626分、理科619分
陕西师范大学:文科623分、理科574分
华东师范大学:

华中师范大学:

6、黑龙江
北京师范大学:理科592分
华东师范大学:理科581分、文科580分
华中师范大学:理科558分、文科547分
东北师范大学:理科565分、文科549分
陕西师范大学:理科543分、文科558分
西南大学:理科 576分、文科540分
7、江西省

8、湖南公费师范生录取分数线2021
陕西师范大学:历史类593分、物理类597分
华东师范大学:


华中师范大学:

9、河北公费师范生录取分数线2021
陕西师范大学:历史类606分、物理类609分
华东师范大学:


华中师范大学:


微信扫码关注公众号
获取更多考试热门资料